问题标题: 请教专家
问题分类: --问题分类1(必选)-- 幕墙门窗类 塑料门窗类 五金配件类 玻璃类 型材类 胶类 设备类 隔热材料类 节能技术类 招/投标类 CAD软件类 施工安装类 其它综合类 --问题分类2(可选)-- 幕墙门窗类 塑料门窗类 五金配件类 玻璃类 型材类 胶类 设备类 隔热材料类 节能技术类 招/投标类 CAD软件类 施工安装类 其它综合类
验证码:
词条名称:
词条分类: --分类-- 幕墙门窗类 塑料门窗类 五金配件类 玻璃类 型材类 胶类 设备类 隔热材料类 节能技术类 招/投标类 CAD软件类 施工安装类 其它综合类
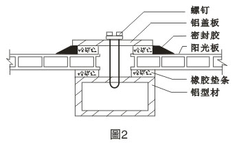
将铝合金门窗直接安装在未经表面装饰的墙体门窗洞口上,在墙体表面湿作业装饰时对门窗洞口间隙进行填充和防水密封处理。
昵称: 注册登录后回答,赢取积分!